一、主要用途和適用范圍
自由浮球式蒸汽疏水閥能將蒸汽管網及供熱設備中的凝結水及時排出并阻止蒸汽泄
漏,具有冷凝水回收作用,從而保證了加熱設備和管網的正常運行,對節約能源具有顯著
效果。廣泛應用于化工、電力、煉油、輕紡、造紙等工況企業,尤其對壓力低、排量大和
溫度穩定性要求高,不宜滯存凝結水的蒸汽設備更為適用。
二、工作特性
排水方式 連續排水,有水即排,加熱設備內不會有水積聚
排飽和水能力 能排飽和水,從而獲得最高的熱效率
排除空氣能力 需附加排空裝置
蒸汽損耗 可以保溫,表面散熱蒸汽損耗小
蒸汽壓力變化對疏水閥的影響 可適應大幅度和突然的壓力變化,浮球能調節排水閥座孔的開度,工作連續,性能穩定
背壓是否有限制 背壓率為進口壓力的 80%
是否用于過熱蒸汽 不可用于過熱蒸汽
是否怕凍 怕
是否怕水擊 怕
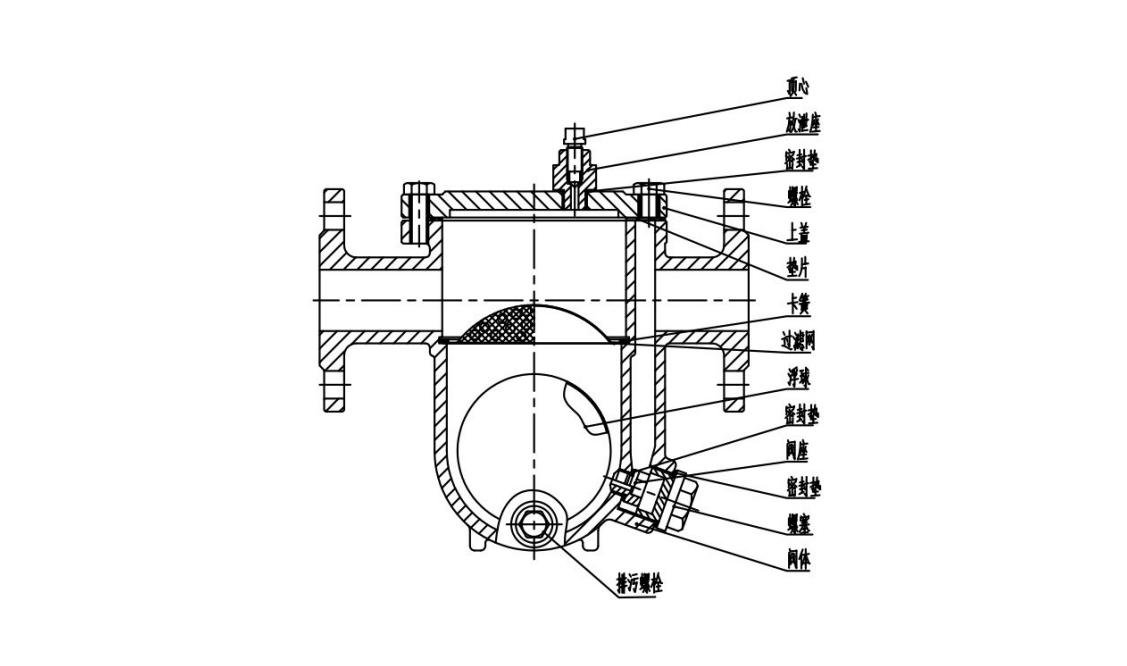
三、結構及原理
工作原理:
自由浮球式疏水閥是利用阿基米德浮力原理,使浮球隨閥腔內的液面的升降而升降,從而自動調節閥座孔開度達到連續疏水,有水即排的目的。
當開始工作時,大量的空氣或不凝結氣體在蒸汽和凝結水推動下經過快速排除體外,這時低溫凝結水進入疏水閥內,浮球上升,閥座孔開啟,低
溫凝結水迅速排出后閥座孔關閉,蒸汽很快進入閥腔內,隨著時間的延續流入閥內的凝結水逐汽漸增多,也就是說體腔內液面升高到浮力大于球
體自身重量及閥口面積作用力時,球體浮起打開閥口,大量的凝結水迅速排往閥后。在排水過程中,液面逐漸下降,由于體腔內壓力分布不均勻
,閥口處壓力最低,使漂浮在液面的浮球受到不平衡的力,推動浮球向閥口浮動,直至到封閉閥口為止,此時體內底部支撐點頂住浮球,使浮球
不能繼續下降。此時液面與閥口有一定距離,因此形成水封,阻止蒸汽逸漏。
四、可能發生的故障及消除方法
蒸汽泄漏發生原因及解決方法:
1. 閥前無凝結水、蒸汽過熱,疏水閥失去水封
關閉疏水閥前閥門屯積凝結水后再緩慢開啟閥門,重新建立水封
2. 密封面上存有污垢或水漬
打開清潔螺栓,沖洗浮球和密封面
3.浮球、閥座的密封面嚴重磨損
研磨浮球、閥座密封面
4.浮球因水錘劇烈沖擊而破損,無法起到密封效果
更換浮球
不排水發生原因及解決方法:
1.壓力升高,沒有安裝小一點的閥嘴或正常磨損后,閥嘴擴大。
更換小一點的閥嘴
2.無凝結水或蒸汽進入疏水閥
檢查疏水閥前的過濾器是否堵塞
3.開機前未排盡管道內空氣,造成疏水閥氣鎖
開啟閥蓋上的泄氣閥至正常出水后再關閉
五、安裝使用注意事項
1、 安裝前清洗管路設備,除去雜質,以免堵塞。
2、 蒸汽疏水閥應盡量安裝在用汽設備的下方和易于排水的地方。
3、 蒸汽疏水閥應安裝在易于檢修的地方,并盡可能集中排列,以利于管理。
4、 各個蒸汽加熱設備應單獨安裝蒸汽疏水閥。
5、 旁路管的安裝不得低于蒸汽疏水閥。
6、 安裝時,注意閥體上箭頭方向與管路介質流動方向應一致。
7、 蒸汽疏水閥進口和出口管路的介質流動方向應有 4%的向下坡度,而且管路的公稱通徑不小于蒸汽疏水閥的公稱通徑。
8、 一個蒸汽疏水閥的排水能力不能滿足要求時,可并聯安裝幾個蒸汽疏水閥
9、用在可能發生凍結的地方,必須采用防凍措施。